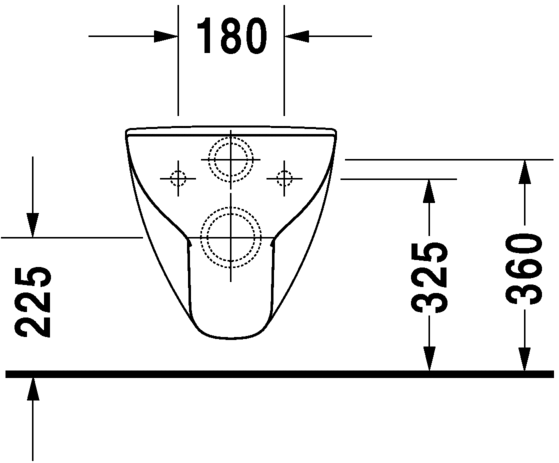
Tiefspüler, barrierefrei, Ausladung 700 mm, EWL Klasse 1
Größe:360 x 700 mm
Varianten:4,5 l
© Schmoock Design